くさび式足場材
くさび式足場材として、住宅の建設工事などで活躍している信和キャッチャー足場材。
工場現場で、建築物の周りに組立てられた足場材の光景はよく見られますが、実際どんなものなのでしょう?

木造住宅など低層建築物から中層のビルまで、建設や塗装工事に使われます。
また、建築用足場の用途だけではなく、イベント用の仮設ステージや仮設スタンドなど様々に活用されています。


信和キャッチャー足場材は、各部材に凸金具または凹金具が備えられています。その金具どうしをハンマー1本で打ち込むだけの簡単な構造です。
従来のクランプ式に比べ、作業時間の削減になります。

信和キャッチャー足場材は、建設工事における仮設設備の安全を追及する仮設工業会の認定を受けています。
ジョイント部の強度については、認定基準の2倍以上の強度が証明されています。





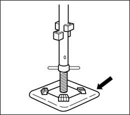
・地盤の不等沈下の恐れがない整地した上で設置します。
※アンダーベースは、集中荷重による足場の沈下を防ぎます。




・ジャッキベースの使用範囲高さは50cm以下とし、アンダーベースの中央に位置します。
・ジャッキベースの最上部から下に10cm以上の支柱を挿入します。
※ジャッキベースは支柱の高さを調整し、足場全体の水平を調節するものです。




・支柱を建物のひさし部分により75cm以上90cm以下程度となるように高くします。
・クサビ受けの向きを同じ方向になるように設置します。




・地上第一段目の踏板は、2m以下に設置します。
・段差のないように連続して踏板を設置します。
・建物(外壁)から足場までの隙間は、30cm以下とします。




・踏板から上に2つ目(約90cm)のクサビ受けで手摺を設置します。
・墜落の恐れのある場合は、クサビ受け1つ目(約45cm)にも手摺を設置します。
・欠落がないように連続して設置します。




・階段に沿って、階段手摺を設けます。
・踊場については、2層以下毎に設置します。
最上部には、踊場を付けます。




・梯子の最上部は建物から60cm以上出します。




・足場の外側構面に設置します。
・支柱最下部クサビ受けより支柱最上部クサビ受けまで設置します。
・水平に対し角度45度の傾きで、全層全スパンに渡って連続して設けます。
※筋交は、足場の横揺れを防止するものです。




・単管パイプを用いて、1ヶ所は支柱(建地)緊結もう1ヶ所は、銅製抗に緊結、設置します。
・単管パイプと銅製抗の角度は、60~75度前後します。
・水平材を控え材と緊結、設置します。




・控え材の取れない現場(狭小地)では、控え材にかえて壁あてジャッキを3スパン以内にごとに設置します。
・踏板の各層に設置します。




・足場を構成するコーナー最上部に設置します。
・コーナー部より1.8m以上はなれた左右均等の支柱に緊結します。




・開口部2スパン以上の時に使用します。
・開口部の大きさは、高さ3層以下、幅3スパン以下時で使用します。
・足場の内側面、外側面に2枚使用します。
・トラスの両端のスパンはトラスの高さまで、筋交を設けます。




・単管端部の場合は50mm以上離して固定します。
※仮設工業会認定品を使用します。




・2枚以上の瓦にまたぐように設置します。




・踏板が外出しとなる場合は、張出ブラケットを用いて、支柱、手摺を設置します。